PRODUCT
製品情報
KLライン
省スペース型LEDライト
KLライン最大の特徴は、省スペースで設置出来ることです。
省スペースのため、レースウエイに直付け、天井・壁に直付けなどができますので、例えば雨風が強い野外設置や、スペースの無い場所には特に最適です。
防水機能
KLラインはIP67相当の防水機能があります。汚れた時にも、直接の水洗い(中、低圧力)が可能です。
KLラインの活躍できる場所
従来の屋内設置の他にも、野外・駐車場・倉庫・工場・大型冷蔵庫など様々な場所で活躍できます。
KLライン防水シリーズKLW40H1200
KLW40H1200全体写真 IP67相当
KLW40H1200拡大
KLW40H1200アクリルカバー取付(別売)
製品定格(1台あたり)
- 消費電力
- 20W
- 標準色温度
- 5000-6000K
- 演色性
- Ra80
- 光束
- 3000lm
- 入力電圧
- 100-240V
- 色温度OP
- 6000~6500K 8000K~
外寸図
KLライン防水シリーズKLW40R1200
KLW40R1200全体写真 IP67相当
KLW40R1200拡大
KLW40R1200アクリルカバー取付(別売)
製品定格(1台あたり)
- 消費電力
- 20W
- 標準色温度
- 5000-6000K
- 演色性
- Ra80
- 光束
- 3000lm
- 入力電圧
- 85-265V
- 色温度OP
- 6000~6500K 8000K~
レースウエイ取付写真
KLライン防水シリーズKLW40R1200-2
KLW40R1200-2全体写真 IP67相当
KLW40R1200-2拡大
製品定格(1台あたり)
- 消費電力
- 40W
- 標準色温度
- 5000-6000K
- 演色性
- Ra80
- 光束
- 6000lm
- 入力電圧
- 85-265V
- 色温度OP
- 6000~6500K 8000K~
外寸図
レースウエイ取付写真
LEDソーラーライト
電源いらずのLEDソーラーライト アポロン
LEDソーラーライト アポロンは、独立電源型なので設置する場所を選びません。山岳地帯、被災地等、電源確保が困難な場所でも設置可能です。
セットアップも簡単。KEYボタンでモードを設定するだけです。
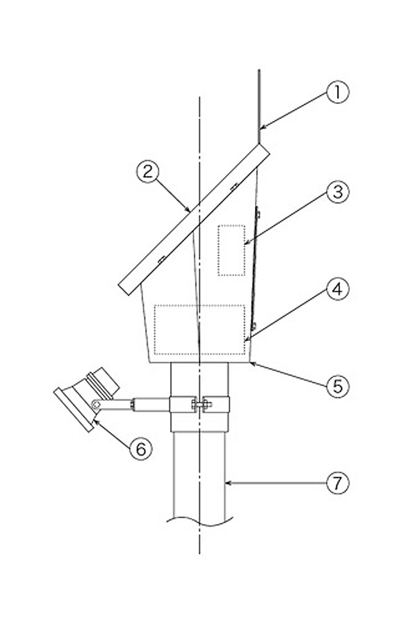
アポロンⅠ
- 1. 鳥防止ピン
- 2.ソーラーパネル
- W 530 x D 354 x H 25
- 単結晶 24W 19.0V
- 仰角 45°
- 3.コントローラー
- 電圧 12V 下限電圧 9.6V
- 日没夜明け自動点灯他16 パターン
- 4.バッテリー
- リチウムイオン 12.0V
- 容量 10 Ah / 120 Wh
- 5.取付ボックス
- 材質 SUS 304 or SPC
- 6.LED ランプ
- 消費電力 最大 7.2W
- 全光束 最大 520 lm
- 色温度 6,000 K
- 配光角 60°
- 7.鋼管ポール
- 面処理:溶融亜鉛鍍金
- 全長 5.5 m 外径 φ89.1
- ランプ~地上高 4.5 m
- 埋設部分 1.0 m
アポロンⅠ 図面 PDF [ 44.9KB ]
本体:鋼板SPC / ー:ブラック(オプション色 ブラウン シルバー)
(受注生産品)本体:ステンレスSUS304 / カラー:シルバー
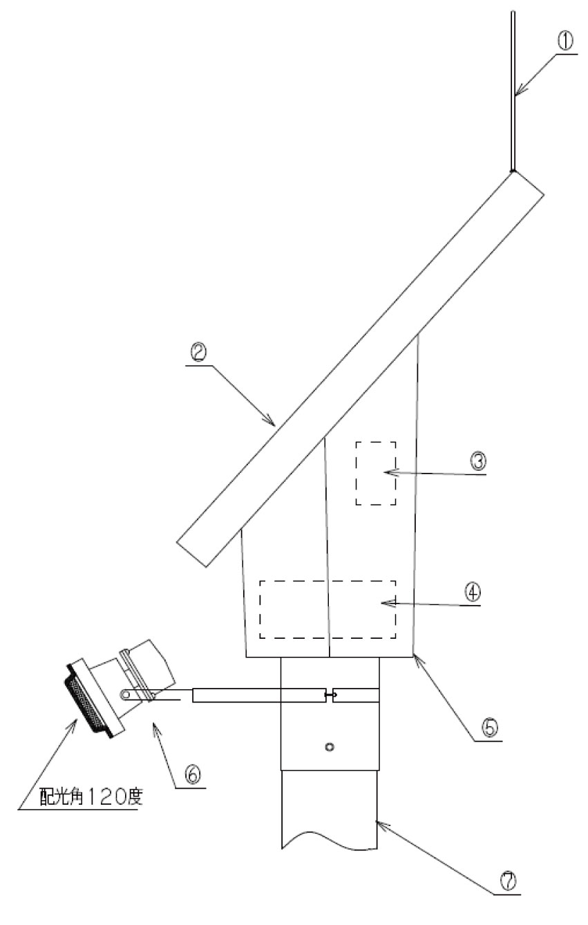
アポロンⅡ
- 1. 鳥防止ピン
- 2.ソーラーパネル
- W 517 x D 512 x H 17
- 単結晶 32W 21.7V
- 仰角 45°
- 3.コントローラー
- 電圧 12V 下限電圧 10.5V
- 日没夜明け自動点灯他5 パターン
- 4.バッテリー
- リチウムイオン 12.0V
- 容量 8.6 Ah / 2セット
- 5.取付ボックス
- 材質 SUS 3040rSPC
- 6.LED ライト
- 消費電力 最大 10W
- 全光束 最大 650 lm
- 色温度 6,000 K
- 配光角 120°
- 7.鋼管ポール
- 表面処理:溶融亜鉛鍍金
- 全長 5.5 m 外径 φ89.1
- ライト~地上高 4.5 m
- 埋設部分 1.0 m
アポロンⅡ図面 PDF [ 257KB ]
本体:鋼板SPC / ー:ブラック(オプション色 ブラウン シルバー)
(受注生産品)本体:ステンレスSUS304 / カラー:シルバー
菌茸類の育成用LED
きのこは、日本人が好む食材の一つです。植物育成用LEDを用いた省エネルギー型の栽培方法で、主にまいたけ、ぶなしめじ、エリンギ等を効率的に栽培が可能となります。
育成用LEDが選ばれる5つの理由
その他、両面基盤の製品もございます。
当社の植物育成用LEDは、基本的に受注生産なので器具形状、配光、波長、光量などお客様の育成環境に合わせたご提案が可能です。お気軽にお問合せください。
使用電源
別売りのDC電源でのご利用になります。
ケーブル
お客様の育成室環境に合わせた長さ、分岐のケーブルをご提案いたします。
植物育成用LED照明
舞 茸育成用白色LED
KL-1200MG-MW
ぶなしめじ育成用白色LED照明
KL-1200MG-BW
エリンギ育成用青色LED
KL-1200MG-EB
電源・連結ケーブル
- 使用電源
- 入力電圧 : AC100 - 240V
- 出力電圧 : DC42V
- 出力電流 : 4900mA
- 防水性 : IP67





